
Y形軋機較大軋制速度可達 50~60m/s,就其一個機架來說,有三個互成120°布置的圓盤狀軋輾,由若干臺機架緊湊地、連續地布置在一起組成連軋機組。單機架與雙機架分別為上傳動式與下傳動式,并相鄰軋機互成"Y"字形狀交替排列,故可進行無扭軋制。
Y形軋機較大軋制速度可達 50~60m/s,就其一個機架來說,有三個互成120°布置的圓盤狀軋輾,由若干臺機架緊湊地、連續地布置在一起組成連軋機組。單機架與雙機架分別為上傳動式與下傳動式,并相鄰軋機互成"Y"字形狀交替排列,故可進行無扭軋制。
Y形軋機的孔型系統一般采用三角-弧邊三角-圓。對于某些合金鋼,亦可采用弧邊三角-弧邊三角-圓孔型系統。在孔型內軋件承受三面加工,其應力狀態對軋制低塑性鋼材有利。進入 Y形軋機的坯料一般為圓截面,亦可為六角形。由 Y形軋機孔型圖可看出在孔型中前后道次的變形是比較均勻的,因此,各架軋機間的張力可控制在 2%的范圍以內。
1.Y形軋機的分類
通常情況下,Y形軋機可分為不可調式的三輥 Y形軋機 【見圖7-11(a)】 和可調式的三輥 Y形軋機 「見圖7-11(b)】 兩種類型。對于不可調式的 Y形軋機又分為兩種結構型式∶一種是軋機本身帶有一對直齒減速的結構型式【見圖 7-11(c)】,另一種是軋機本身不帶減速的結構型式【見圖 7-11(a)】。同樣地,對于可調式Y形軋機也分為兩種結構型式∶一種為軋機本身帶有一對直齒減速的結構型式【見圖 7-11(d)】,另一種為軋機本身不帶減速的結構型式【見圖 7-11(b)】。軋機是否需要帶減速裝置是與傳動齒輪箱中的齒輪組速比分配有關的。
計成有齒輪箱的,齒輪箱圍繞軋機組塊的中心線布置成C形,齒輪箱是用法蘭連到焊接的基礎架上(見圖7-12)。該C形基礎架在操作側是敞開的,這樣便于更換機架。機架在與基礎架相接的軌道上的滑動,是靠液壓控制的彈簧承重缸來保持與軋機孔型中心線對中的裝配,每個組件由一個軋輥及其軸承組成。軋輥組裝件裝入構成軋輥機架牌坊的兩個豎直板內。
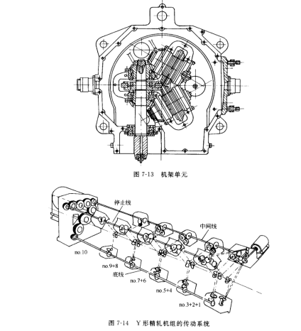
2.Y形軋機的結構
Y形軋機的結構如圖7-12所示,每個軋輥都是單獨傳動的。軋機的傳動裝置設
設計的三輥組塊式軋機機架,每架有三個環形軋輥,而每兩個短軸間用預應力拉桿夾緊。采用這種布局,可通過摩擦將力矩從短軸法蘭直接傳給軋輥。
軋輥軸是從軋輥兩側由滾柱軸承支承,軸向負荷由錐柱軸承支承,不會發生后沖。耐磨軸承是由一個油氣裝置來潤滑的,并且采用無接觸曲徑的密封,防止水和氧化鐵皮的浸入。軋輥機架的特點是三輥星形組裝件的壓下是所有三個輥聯合進行的,并且是經過壓下螺絲蝸輪傳動及鉸接軸從一點進行壓下調整,螺絲每旋轉一圈,軋輥的壓下調整量為0.1mm。
每兩個機架構成一個機架單元,如圖 7-13 所示。軋輥出口側的 90°扇面內用水冷卻,此冷卻水是從出口導衛板的連接處供給機架單元。軋輥機架可在導衛板上從其操作位置移進和移出,此導衛板布置在有關機架的兩側。所有水管和油管都是自動連接和自動卸開。傳動系統如圖7-14 所示,是由布置成C形的三條齒輪箱線組成的。每一線有五個縱向軸連接在一起的獨立齒輪箱。這三根縱向軸由出口側的一個分配齒輪連到主傳動電機上 (直流電機2 750kW)。
4號到9 號機架齒輪箱在每個機架單元有兩根平行的輾軸,它們是通過傘齒輪和一對斜齒輪來傳動的。1號到3號機架齒輪箱有三根軸。10號機架有一根軸。在 1 號、2號和3號機架的齒輪箱中,該傳動系統分成1 號機架和 2 號、3 號機架兩部分。 2 號、3 號機架與縱向軸連接,并由 主電機傳動,同樣 4 號和 10 號機架也是如此。1 號機架則是由另一臺220kW 直流小電機經過各自的傘齒輪來傳動。所有的軸都裝有抗摩擦軸承。
更換機架時,上面和下面的齒輪系利用液壓馬達通過縱向軸及螺栓千斤頂退回。在軋制位置時,所有各齒輪箱皆由彈簧承重夾緊液壓缸在牌坊上夾緊,松開也是由液壓缸控制,全部齒輪箱皆與中心稀油循環系統連接。
由于在成對機架之間的線材斷面是三角形的,每個機架單元都裝有入口彈簧承重的滾動導板,因此,在機架單元中使用導板襯套作為中間導板(因為中間孔型是六角形的)。其他型式的導板襯套也可作為出口導板使用。
軋輥在軋,輥間進行更換。 無需中斷軋機的運轉。
3.Y形軋機的特點優點∶
由于每相鄰機架軋輥方位互相錯開,在軋制中軋,件角部位置經常變化,故各部溫度比較均勻,變形也均勻。因軋件六向壓縮,所以軋件也不會劈頭,不需剪切,適于低塑性金屬的軋制。
②因相鄰機架軋輾中心線互相錯開一個角度,所以軋件不必扭轉,這樣可實現無扭高速軋制,成品線速度可達 50~60m/s。并且產品表面質量好,精度高,公差小。
③由于采用整體傳動,簡化了控制系統,所以易于實現自動化。
④結構緊湊,體積小,重量輕,搬遷方便,占地面積很小,安裝場地簡單。
⑤應用廣泛,可生產 940mm 以下的圓形和六角形的棒材,也可生產 φ5~12mm 的線材。
⑥成組更換機架,減少了生產線上換輾時間,提高軋機作業率。缺點∶
①軋輾加工要在特殊磨床上作整體孔型磨削加工。
②需要大量備用機架。因為此軋機-一般無壓下調整機構,軋輥孔型磨損后,在軋制線上無法換輾,要整體地更換組合體,需要大量備用機架。
③氧化鐵皮不易去除。

