
卸卷機的作用是將盤卷從運輸機上卸下,小卷則多個卷 收集在一起,為叉車或吊車運走盤卷作準備。
按盤卷盤重不同盤卷卸卷裝置分為兩類:
(1)小型的線材卸卷大多是通過集卷機將多個小卷集在一起,然后用叉車將盤卷運到堆放場地堆放。其盤卷卸卷機和集卷機如圖1-1所示:
圖1-1 盤卷機與集卷機示意圖 1,卸卷機 2,收集桿 3,線卷 4,集卷機
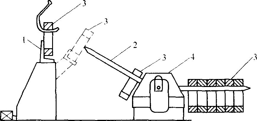
(2)單卷卸卷。高速軋機線材生產中,由于盤重大,所以是是單卷卸卷。按卸卷方式不同蛋卷卸卷裝置又分為兩種,一是用卸卷小車的卸卷裝置,如圖1-2所示,而是用C形鉤卸盤的卸卷裝置如圖1-3所示

圖1-2 用卸卷小車的盤卷卸卷裝置示意圖 1,卸卷小車 2,升降橫桿 3,固定收集架 4,鏈條傳動機構
卸卷機相對盤卷運輸機的位置又分為平行和垂直兩種布置方式。
圖1-3用C型鉤卸盤卷的卸卷裝置示意圖 1,電機 2,渦輪減速機 3,曲柄機構 4,托卷板 5,形鉤 6,銜接鋼板 7,步進梁 8,固定擋板 9,盤卷
(1)平行布置方式是指卸卷機與該處運輸機的軸線相互平衡如圖a所示。
(2)垂直布置方式是指卸卷機與該處盤卷運輸機的軸線相互垂直的布置方式。如圖b所示。

a b
圖a,b 卸卷機的兩張布置方式
1盤卷的驅動(游動或單獨電機驅動的鉤式運輸機);2卸卷小車及其卸下的運盤卷;3盤卷集放架及集放的盤卷
兩種布置方式的主要區別是盤卷放架的位置和集放架存放盤卷的貨位數不同。貨位多可對吊車工作起到緩沖作用。
上述各卸卷機,幾乎都有帶液壓升降托盤(從鉤上托起盤卷用)裝置的小車,而小車又都是由電動機驅動并在輥道上作網返運動用。
盤卷卸卷后,由叉車或吊車送到成品庫堆放。

